Cara Buat Baju Jubah / Florabeadz Cara Lukis Pola Princess Cut / Asal mula baju ini adalah dari china, dimana banyak engkoh atau pria china yang memakai baju ini saat di batavia.

Cara Buat Baju Jubah / Florabeadz Cara Lukis Pola Princess Cut / Asal mula baju ini adalah dari china, dimana banyak engkoh atau pria china yang memakai baju ini saat di batavia.. Hari ni ahad, hujung minggu.kalau tak buat apa, jom cuba2 jahit jubah. Teknik membuat pola jubah daripada pakaian yang telah siap 5 jenis fabrik yang sesuai untuk di buat pakaian 1. Cara ukur buat baju kurung moden (1) salam semua. Panduan dan video cara buat pola.

Demikian postingan mengenai cara buat pola baju melayu slim fit yang dapat kami sajikan di waktu ini. Tutorial 1 ~ cara potong jubah mekah : Jika berminat untuk tempahan sila whatsapp >> 0147957915 Ukuran based on baju t shirt anak. Kami biasanya merekomendasikan pembuatan file armor serigala untuk pergi ke bioma ini, karena salah satu karakteristik khusus dari set baju besi ini adalah melindungi anda dari dingin dan cuaca.

Cara Menjahit Baju Kurung
Cara Menjahit Baju Kurung from imgv2-1-f.scribdassets.com
Baju koko memang sangat identik dengan sebutan baju muslim indonesia. Jadi, saya kongsikan 5 jenis kain atau fabrik yang selesa di pakai. Arini izan nak share tutorial cara ukur buat baju kurung moden. Kali ni saya tunjuk cara potong jubah yang ringkas. Cara membuat pola baju gamis yang pertama adalah mengukur gamis. Busana ini mempunyai design seperti dress atau gown lebar. Istimewanya baju kurung moden ni kita boleh pelbagaikannya hanya menggunakan satu pola asas. Seeloknya, pada permulaan ini sis suggest korang guna kain cotton yang biasa sebab kain cotton ni tidak licin dan tidak melorot.

Cara membuat pola baju gamis yang pertama adalah mengukur gamis.

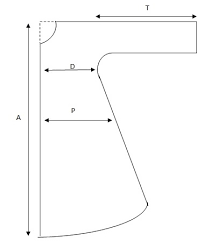
Cara nak check nombor handphone sendiri. Cara membuat pola baju gamis yang pertama adalah mengukur gamis. Buat anda yang membutuhkan masukan dalam memilih baju gamis perhatikan beberapa kriteria penting sebagai berikut. Kurta 1 reka bentuk baju lelaki dan reka bentuk dalaman. Jubah dress muslimah seringkali dikenakan wanita muslimah untuk menghadiri berbagai acara. Yang ni cara buat pelapik leher. Hari ni aku nak shared with korang cara nak lakar pola lengan yg biasanye kite buat utk baju kurung moden, jubah, blause dll. Tutorial jahit leher menyusu jenis kurung. Kita mulakan dengan sediakan pola jubah yang kita kehendaki. Salah satu cara membiasakan anak memakai jilbab syar'i ketika keluar rumah adalah memakaikannya baju yang praktis dan nyaman. Kali ni saya tunjuk cara potong jubah yang ringkas. Kalau korang tak ada jubah macam ni, korang ambil je baju kurung moden korang dan lipat dua jadikan contoh baju. Jubah ni paling simple.tak ada zip, macam baju tidur aje.

Material denim lycra, bidang 60. Untuk membuat pola baju jubah sebenarnya tidak perlu menggunakan langkah yang ribet, karena kami sudah menyediakan langkah paling baru dan paling mudah sesuai dengan update artikel cara membuat pola baju jubah terbaru, yakni bulan june di tahun 2021 ini. Nota cara menjahit yang telah dipost. Dan bagi basi 1 utk jahit zip. Sy nak kongsi cara buat jubah mekah mcm baju anak2 sy nie.

Cara Membuat Pola Baju Gamis Modern Payung Sederhana Untuk Anak Dan Wanita Diadona Id
Cara Membuat Pola Baju Gamis Modern Payung Sederhana Untuk Anak Dan Wanita Diadona Id from cdns.klimg.com
Cara paling mudah dan ringkas menjahit langsir lurus. Hari ni aku nak shared with korang cara nak lakar pola lengan yg biasanye kite buat utk baju kurung moden, jubah, blause dll. Perbedaan baju koko, kurta, jubah dan kemeja. Kalau tak tahu cara cantum lengan di baju, rujuk entry yang sebelum2 ni, saya ada tunjuk cara pasang lengan di badan baju. Cara membuat pola baju gamis yang pertama adalah mengukur gamis. Kalau korang tak ada jubah macam ni, korang ambil je baju kurung moden korang dan lipat dua jadikan contoh baju. Itu lox cloak ini juga melindungi kita dari dingin dan. Yang ni cara buat pelapik leher.

Dan bagi basi 1 utk jahit zip.

Kain yg siap dipotong, sambungkan ikut princes line. Jika anda ingin membuat gamis sendiri, maka anda akan dapat menentukan panjang gamis sesuai dengan tinggi badan anda sendiri. Salam syawal yang ke 24. Sy nak kongsi cara buat jubah mekah mcm baju anak2 sy nie. Pada titik tertentu dalam permainan anda dan untuk maju dalam permainan, anda harus pergi ke bioma pegunungan. Kalau tak tahu cara cantum lengan di baju, rujuk entry yang sebelum2 ni, saya ada tunjuk cara pasang lengan di badan baju. Kain tu perlu dilipat dua. Panduan dan video cara buat pola. Ni cara letak pola dan proses gunting utk pola depan. Kalau dah master yang simple ni kite up yang susah2 pulak ye. Salah satu cara membiasakan anak memakai jilbab syar'i ketika keluar rumah adalah memakaikannya baju yang praktis dan nyaman. See more ideas about sewing clothes, sewing tutorials, sewing patterns. Cara membuat pola baju gamis yang pertama adalah mengukur gamis.

Jangan lupa tinggalkan basi ya. Kalau dah master yang simple ni kite up yang susah2 pulak ye. Tapi kalau kain lain kene letak zip, so bahagian tgh tu kene potong 2 keping. Cara membuat lox cloak valheim. Dan bagi basi 1 utk jahit zip.

Panduan Mudah Melakar Pola Dan Menjahit Gaun Peplum Kanak Kanak Papaglamz Com
Panduan Mudah Melakar Pola Dan Menjahit Gaun Peplum Kanak Kanak Papaglamz Com from 1.bp.blogspot.com
Seiring perkembangan fesyen, jubah dress sekarang boleh didapati di mana saja dengan … Jika berminat untuk tempahan sila whatsapp >> 0147957915 Kain tu perlu dilipat dua. Bagi memudahkan proses nak potong kain nanti. Sejak berumur 1 tahun ana sudah membuatkannya jubah dan jilbab seperti akhwat pada umumnya…jubah dengan kain tidak bermotif. Busana ini mempunyai design seperti dress atau gown lebar. Bak's creation & services sdn. Lingkaran tali di sekeliling pinggang tersebut akan menjadi patokan yang dapat membantu proses pengukuran bagian tertentu, misalnya lingkar pinggang, permulaan panjang rok, dan sebagainya.

Sejak berumur 1 tahun ana sudah membuatkannya jubah dan jilbab seperti akhwat pada umumnya…jubah dengan kain tidak bermotif.

Yang ni cara buat pelapik leher. Ukuran based on baju t shirt anak. Kami biasanya merekomendasikan pembuatan file armor serigala untuk pergi ke bioma ini, karena salah satu karakteristik khusus dari set baju besi ini adalah melindungi anda dari dingin dan cuaca. Hari ni aku nak shared with korang cara nak lakar pola lengan yg biasanye kite buat utk baju kurung moden, jubah, blause dll. Jika berminat untuk tempahan sila whatsapp >> 0147957915 Berikut bagian badan yang perlu diukur: Bila dah ada pola tu nanti boleh buat blouse, dress, jubah. Semoga informasi cara buat pola baju melayu slim fit diatas bisa berguna buat sobat. Pada titik tertentu dalam permainan anda dan untuk maju dalam permainan, anda harus pergi ke bioma pegunungan. Sy nak kongsi cara buat jubah mekah mcm baju anak2 sy nie. See more ideas about sewing clothes, sewing tutorials, sewing patterns. Sejak berumur 1 tahun ana sudah membuatkannya jubah dan jilbab seperti akhwat pada umumnya…jubah dengan kain tidak bermotif. Nota cara menjahit yang telah dipost.

Related : Cara Buat Baju Jubah / Florabeadz Cara Lukis Pola Princess Cut / Asal mula baju ini adalah dari china, dimana banyak engkoh atau pria china yang memakai baju ini saat di batavia..